BMW X3 (F25) Service & Repair Manual: Transfer box special tools
Adapter
Adapter AM
NOTE: (Adapter) Transmission: S5D 310Z
NOTE: (Adapter) Transmission: A5S 310Z
Bush
Bush AM
NOTE: (Pull-out bush)
NOTE: (slip bush with drift) For fitting the radial sealing ring into the transfer box on the output shaft to the front axle differential
Storage Location
Y8
SI number
01 04 92 (487)
Consisting of:
1. Bush
NOTE: (Slip bush)
2. Mandrel
NOTE: (Drift)
NOTE: (Slip bush)
NOTE: (Slip bush)
NOTE: (Impact bush)
Storage Location
A48
CLIP
Clip Mechanical tool
NOTE: (Retaining bracket) For transfer box
Device
Device AM
NOTE: For driving in the radial shaft seal in the transfer box on the output shaft at the front
Consisting of:
1. Bush
NOTE: (Slip bush)
2. Mandrel
NOTE: (Drift)
Device AM
NOTE: For removing and installing the transfer box
SI number
01 08 93 (679)
Consisting of:
1. Frame
NOTE: (Main frame with spindle)
2. Adapter
NOTE: (Adapter) Transmission: S5D 310Z
3. Adapter
NOTE: (Adapter) Transmission: A5S 310Z
Device Mechanical tool
NOTE: For installing the rubber mount in the transfer box
Extension
Extension AM
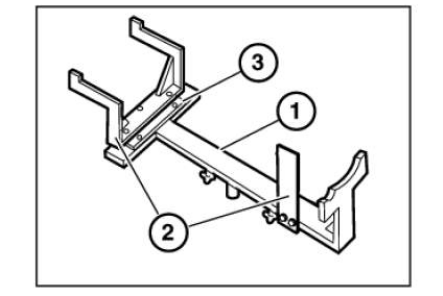
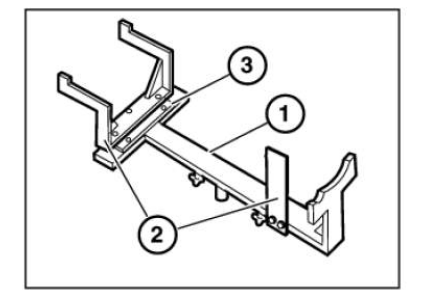
Fixture
Fixture AM
NOTE: (support and extension) For removing and fitting the transfer box
SI number
01 15 99 (483)
Consisting of:
1. Fixture
2. Extension
Fixture AM
FRAME
Frame AM
NOTE: (Main frame with spindle)
Holding sleeve
Holding sleeve AM
NOTE: (Sliding sleeve) For output to front axle differential
Storage Location
A48
Holding sleeve AM
NOTE: (Sliding sleeve) For output to rear axle differential
Storage Location
A48
MANDREL
Mandrel Mechanical tool
NOTE: (Drift) For driving the main shaft out of the transfer box
Mandrel Minimum set: Mechanical tools Mechanical tool
NOTE: (Drift) For driving radial shaft seal of output shaft to front axle differential. Transfer box: ATC 700
Storage Location
A21
SI number
01 22 06 (307)
Mandrel Minimum set: Mechanical tools Mechanical tool
NOTE: (drift) For driving in drive shaft seal. Transfer box: ATC300
Storage Location
B50
C50
SI number
01 04 05 (175)
Mandrel Mechanical tool
NOTE: (drift) For driving the roller bearing into the transfer box on the drive shaft
Storage Location
X7
SI number
01 04 92 (487)
Mandrel Mechanical tool
NOTE: (drift) For driving the radial sealing ring into the transfer box on the output shaft to the rear axle final drive
Storage Location
X7
SI number
01 04 92 (487)
Mandrel AM
NOTE: (Drift with slip bushes) For fitting radial shaft seals to rear and front axle differentials Transfer box: NV-124/125 on E46/16
Storage Location
A48
SI number
01 01 03 (946)
Consisting of:
1. Bush
NOTE: (Impact bush)
2. Holding sleeve
NOTE: (Sliding sleeve) For output to front axle differential
3. Holding sleeve
NOTE: (Sliding sleeve) For output to rear axle differential
Mandrel Mechanical tool
NOTE: (Drift) For fitting rotary shaft seal in transfer box on main shaft
Mandrel Mechanical tool
NOTE: (drift) For the bearing bush of the drive shaft in the transfer box
Mandrel Minimum set: Mechanical tools Mechanical tool
NOTE: (Drift) For driving in the radial shaft seal of output shaft. Transfer box: ATC300
Storage Location
C50
SI number
01 04 05 (175)
Mandrel Mechanical tool
NOTE: (Drift) For driving the radial seal into the transfer box on the drive shaft
Storage Location
X7
SI number
01 04 92 (487)
Mandrel AM
NOTE: (Drift)
Mandrel Minimum set: Mechanical tools Mechanical tool
NOTE: Mandrel for installing the radial shaft seal (output of transfer box ATC45L).
SI number
01 04 12 (798)
Mandrel AM
NOTE: (Drift) For driving the radial seal into the transfer box on the drive shaft
Consisting of:
1. Ring
NOTE: (Spacer ring)
2. Mandrel
NOTE: (Drift)
Mandrel Mechanical tool
NOTE: (Drift) For fitting radial shaft seal of drive shaft Transfer box: LWX-500
Storage Location
A47
SI number
01 01 03 (946)
Mandrel Mechanical tool
NOTE: (Drift) For the radial seal in the transfer box on the output shaft at the rear
Mandrel AM
NOTE: (Drift)
Mandrel Mechanical tool
NOTE: (Drift) For driving the radial seal into the transfer box on the drive shaft
Storage Location
X7
SI number
01 04 92 (487)
Mandrel Minimum set: Mechanical tools Mechanical tool
NOTE: (Drift) For driving radial shaft seal of output shaft to front axle differential.
Transfer box: ATC500
Storage Location
C48
SI number
01 23 03 (032)
Mandrel AM
NOTE: (Drift)
Mandrel Mechanical tool
NOTE: (Drift) For fitting radial shaft seal of drive shaft Transfer box: NV-124/125 --> E46/16
Storage Location
B47
SI number
01 01 03 (946)
Mandrel Mechanical tool
NOTE: (Drift) For fitting output shaft to rear axle final drive. Transfer box: LWX-500
Storage Location
A47
SI number
01 01 03 (946)
NUT
Nut AM
NOTE: (Thrust nut with bearing)
Puller
Puller Mechanical tool
NOTE: For withdrawing the radial shaft seals in the transfer box on the output shaft at the front
Puller AM
NOTE: For pulling out the transfer box rubber mount
Consisting of:
1. Bush
NOTE: (Pull-out bush)
2. Spindle
3. Nut
NOTE: (Thrust nut with bearing)
4. Washer
NOTE: (pull-out disc)
Puller Mechanical tool
NOTE: For pulling out the roller bearing in the transfer box on the drive side
Storage Location
Y6
SI number
01 04 92 (487)
RING
Ring AM
NOTE: (Spacer ring)
SPINDLE
Spindle AM
SYNCHRONIZING KEY
Synchronizing key Mechanical tool
NOTE: For installing the output shaft in the transfer box rear section
WASHER
Washer AM
NOTE: (pull-out disc)
Transfer box in general (atc 45l)
TRANSFER BOX IN GENERAL SPECIFICATION
TRANSFER BOX IN GENERAL (ATC 450)
TRANSFER BOX IN GENERAL SPECIFICATION
TRANSFER BOX IN GENERAL
TIGH ...
Other materials:
BMW X3 (F25) Service & Repair Manual > Transmission: Checking transmission fluid level
4.0 CHECKING TRANSMISSION FLUID LEVEL
Due to the substantial expansion of transmission fluid when heated it is only possible to measure the oil level
correctly at specified oil temperatures (after driving a distance of about 12 mi./20 km).
ZF 3HP AND 4HP
Due to the substantial expansion of t ...

